DYNA
0012-7353
2346-2183
Universidad Nacional de Colombia
https://doi.org/10.15446/dyna.v90n228.108240

Recibido: 10 de abril de 2023; Revision Received: 17 de mayo de 2023; Aceptado: 14 de junio de 2023

Comparison of mathematical models in reverse logistics: case of pesticide containers and packaging

Comparación de modelos matemáticos en la logística inversa: caso envases y empaques de plaguicidas

J. Silva-Rodríguez, a P. Ocampo-Velez, b

Doctorado en Ingeniería de Procesos, Universidad EAN, Bogotá, Colombia. jsilvar29925@universidadean.edu.co Facultad de Ingeniería Industrial, Grupo de investigación Gispa, Universidad Santo Tomas, Tunja, Colombia, julian.silva@usantoto.edu.co Universidad EAN Universidad EAN Bogotá Colombia
Doctorado en Ingeniería de Procesos, Universidad EAN, Bogotá, Colombia. pcocampo@universidadean.edu.co Universidad EAN Universidad EAN Bogotá Colombia

Abstract

This article presents an analysis of the use of Mixed Integer Linear Programming (MILP) and Discrete Event Simulation in reverse logistics networks, specifically applied to the process of collection and final disposal of empty pesticide containers and packaging in the Department of Boyacá- Colombia, which faces a problem due to the non-return and collection of all empty pesticide containers and packages generated by farmers. Due to the above, initially, a literature search on reverse logistics research is carried out, to subsequently propose a deterministic and stochastic model using linear programming and simulation respectively, to analyze which of these mathematical tools offers and represents better the process under study. The results show that the deterministic model offers better results in terms of planning the quantities to be collected in each of the farms, however, it does not contemplate the possible variations in different periods. On the contrary, the simulation, having a stochastic component, includes the variability of the generation of pesticide containers and packages, better identifying the bottlenecks that may occur in the process. In conclusion, it is evident that both models offer advantages for the reverse logistics process, where the ideal could be the combination of the deterministic with the stochastic.

Keywords:

reverse logistics, pesticide containers and packaging, quantitative tools, Project Management.

Resumen

Este artículo presenta un análisis del uso de la Programación Lineal Entera Mixta (MILP) y la Simulación de Eventos Discretos en redes de logística inversa, aplicado específicamente al proceso de recolección y disposición final de envases y empaques vacíos de plaguicidas en el Departamento de Boyacá- Colombia, el cual enfrenta un problema a causa de la no devolución y recolección de la totalidad de los envases y empaques vacíos de plaguicidas que generan los agricultores. Debido a lo anterior, inicialmente se realiza una búsqueda de literatura sobre investigaciones en logística inversa, para posteriormente proponer un modelo determinístico y estocástico haciendo uso de la programación lineal y la simulación respectivamente, con el objetivo de analizar cuál de estas herramientas matemáticas ofrecen y representan de mejor manera el proceso bajo estudio. Los resultados demuestran que el modelo determinístico ofrece mejores resultados en términos de planificación de las cantidades a recolectar en cada una de las fincas, sin embargo, no contempla las variaciones posibles en distintos periodos. Por el contrario, la simulación al tener un componente estocástico incluye la variabilidad de la generación de envases y empaques de plaguicidas, identificando de mejor forma los cuellos de botellas que se puedan presentar en el proceso. En conclusión, se evidencia que ambos modelos ofrecen ventajas para el proceso de logística inversa, donde el ideal podría ser la combinación de lo determinístico con lo estocástico.

Palabras clave:

logística inversa, envases y empaques plaguicidas, herramientas cuantitativas, gestión de proyectos.

1. Introduction

Nowadays, there is a growth in the importance and attention that companies have given to the recovery of products or materials from customers, either to recover value or as after-sales services. This reverse process was already called Reverse Logistics [1] years ago. [2] affirm that RL is part of and becomes a fundamental part of the reverse supply chain, where the role played by manufacturers or producers is important, designing and implementing processes for the recycling and/or reuse of products or materials.

Different authors have conducted studies and research, to define what LI is, also called reverse distribution, retro logistics, or logistics of recovery and recycling. The most widely used is the one proposed by [3] in the Reverse Logistics Executive Council, defined as "The process of efficient and cost-effective planning, execution and control of the flow of raw materials, in-process inventory, finished goods and related information from the point of consumption to the point of origin to recover value or proper disposal". Nowadays, companies have been encouraged to design and implement Reverse Logistics (RL) systems [4]; according to [5], the main reasons why companies carry out RL are economic benefits, legal pressures, and the growing citizen culture regarding the issue of product return, reasons that coincide with what was stated by [6], who affirm that by practicing RL, enormous economic benefits are obtained for the company.

Consequently, researchers began to focus their efforts on designing RL systems, to attack the problems related to the mishandling and treatment of end-of-life products. One of the first applications of RL system design was related to the control and good management of hazardous materials. Thus, authors such as [7-10], carried out research to study specific reverse logistics networks for harmful waste such as hospital waste, lithium batteries, and dangerous household waste, developing Mixed Integer Linear Programming (MILP) models and including the stochastic component to determine the quantities to be transported and the optimal routes to be generated for the management of such waste.

Similarly, several authors have focused their efforts on designing reverse logistics networks for end-of-life products, such as [11,12], they researched to design reverse logistics networks for end-of-life products from the automotive industry, developing mathematical models of MILP and making use of various complementary algorithms, to determine the most efficient way for the collection and final disposal of waste from this industry. A potential opportunity has been identified in the application of reverse logistics theories by applying them to the collection and disposal of pesticide residues. Authors such as [13-15], have conducted studies in which they agree that there has been an increase in concern about the consequences and risks that empty pesticide containers and packaging can present in terms of both health and the environment.

Consequently, authors such as [16-18] investigated the attitude and behavior of farmers on the use and waste of pesticides in western Iran, where the results show that farmers had not been trained on the use and disposal of pesticides.

Given these considerations, this article shows the results of a research developed in the irrigation district of USOCHICAMOCHA - Boyacá, Colombia, where there is currently a problem of inadequate handling and treatment of pesticide wastes by farmers, in addition to not having a defined reverse logistics process. Consequently, the objective of the research is to propose and evaluate different models for the correct planning and execution of the collection days of empty pesticide containers and packaging, for which a study was developed that applied two quantitative tools Mixed Integer Linear Programming and Discrete Event Simulation, in order to observe which of them best models the process under study and also offers the best alternatives to implement possible improvement scenarios.

In this sense, this article is structured as follows: section two (2) shows the literature review that was conducted on the subject of reverse logistics, then section three (3) shows the methodological structure, where each of the phases followed for the development of the research is explained. Then, in section four (4) the main results of the research are shown in a synthesized way, as well as the result of the application of each one of the modeling tools. Finally, section five (5) presents the main conclusions, product of the research developed.

2. Literature review

A literature review conducted by [19], initially identifies the most relevant topics or with greater attention among the authors of publications in the field of reverse logistics, where it is observed that the most important topics are green logistics, sustainability, product life cycle, product return, remanufacturing and reverse logistics network design. [20] found the quantitative techniques adding others with high use such as Mixed Integer Nonlinear Programming (MINLP), Mixed Integer Fuzzy Programming, Markov Chains, and Full Fuzzy Programming.

Complementary to this, an analysis of the quantitative techniques used by various researchers in recent years was carried out, making an exhaustive search of articles whose objective was to design RL networks for different types of waste, making use of mathematical tools. Table 1 shows that there is a tendency to use MILP as the main tool for the design of the networks since this tool offers researchers the opportunity to find optimal solutions to the models. Likewise, there is an important use of Goal Programming (GP) to establish the RL models, offering an additional alternative in the fulfillment of different objectives within the same model. Some research that use Stochastic Programming (SP) for the modeling of random variables are highlighted, including the combination of mathematical techniques for the total development of the model.

Table 1: Mathematical tools in RL research.

Authors MILP MINLP PM AEC SP AG GP FP VRP
[21] X
[22] X
[23] X X
[11] X
[4] X X
[10] X X
[24] X
[25] X X
[26] X
[27] X
[28] X X
[9] X
[8] X
[29] X
[22] X X
[30] X
[31] X
[32] X X
[33] X

Source: authors

Deterministic Model Methodology

Figure 1: Deterministic Model Methodology

3. Methodology

The research developed is a case study following the guidelines set out by [34], where it has two levels of research scopes: descriptive and experimental. The methodological phases followed for the development of the research were stipulated according to each of the quantitative tools used as follows:

3.1. Phase 1. Deterministic mathematical model

In this phase, a Mixed Integer Linear Programming (MILP) model was developed, following the guidelines of [35] described in Fig. 1:

Initially, through direct observation, a description of the reverse logistics process that is currently carried out for empty pesticide containers and packaging in the irrigation district is made, identifying all the variables and parameters that interfere with the process, in order to determine the objective to be placed in the mathematical model.

Subsequently, the MILP model is built, including continuous variables such as quantities collected in Kg and decision variables such as the possibility of opening new collection centers. Initially a codification of the identified variables and parameters is performed. The objective function equation and the constraint equations that complement the mathematical model are determined.

Once the mathematical model is built, the solution is developed, starting with the collection of the necessary information through field visits and accompaniment to the collection days and data provided by the companies in charge of collecting pesticide containers and packaging. Then, the model was solved through the specialized software for operations research LINGO®. Finally, based on the solution, a validation of the model is performed, verifying initially that the results obtained are consistent with the reality of the process under study and also evaluating possible scenarios for improvement of the system.

3.2. Phase 2. Simulation model

Subsequently, a discrete event simulation model was developed following the methodology of [36] described in Fig. 2.

The description of the reverse logistics process carried out in the previous phase serves as the basis for the creation of the simulation model, where it is initially evaluated whether the variables and characteristics included in this characterization are relevant for the development of the simulation model.

Simulation Model Methodology

Figure 2: Simulation Model Methodology

Source: [36]

This model starts by mapping the area under study and identifying the collection routes of empty pesticide containers and packaging used by the company.

Next, the construction of the simulation model begins, starting with the preliminary construction of the layout under the specialized software FlexSim®, according to the description of the process obtained in the previous stage. Subsequently, according to the stipulations of [37], a time study was carried out for each of the activities that are part of the reverse logistics process under a continuous timing criterion, managing to collect 93 data for each of the activities. Once the data were collected, they were inserted in the Stat: Fit tool of the specialized software Promodel®, where the best probability distribution representing each of the activities was determined, verifying it through goodness-of-fit tests such as Kolmogorov-Smirnov and Anderson Darling.

Afterwards, with the probability distributions defined, these were implemented in the preliminary model and the final adjustment was made to the model in visual terms, performing the stabilization of the model as described by [38].

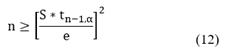
Finally, the verification and validation of the final model were performed, choosing as variables for this process the total time of the reverse logistics process, in which a pre-sample of 10 runs of the model was performed in order to determine the number of replicates necessary for the validation, where finally the sample gave 15 replicates, performing an analysis of means through a t Student test for independent samples, corroborating if there is equality in the means of the real system and the model developed in FlexSim.

Finally, experimentation with the model is carried out, defining possible improvement scenarios, establishing a confidence level of 95% and a significance level of 5% for each of the scenarios.

4. Results

4.1. MILP Model

4.1.1. Set and indexes

I: Set of farm or property with index

J: Set of Final Disposal Alternative type with index j

K: Set of waste type (Packing or packaging) with index k

L: Set of periods in which the capacity with index l varies.

M: Set of collection and disposal period with index

4.1.2. Parameters

CTX m = Cost per kilogram of pesticide residue transported and kilometer traveled in the period m

CTY jm = Cost per kilogram of pesticide residue transported and kilometer traveled from the collection center to disposal alternative j in the period m

DTX i = Distance in kilometers from the farm i to collection center

DTY j = Distance in kilometers from the collection center to the final disposal alternative j

CG ikm = Kilograms of waste k generated by farm i in period m

CDISP jk = Processing capacity of waste k in disposal alternative j (kg)

CVREC m = Capacity in kilograms of the collecting vehicle in period m (kg)

CVDISP m = Vehicle capacity for transport to final disposal in period m (kg)

CICA= Initial capacity of the collection center (kg)

4.1.3. Variables

X ikm = Quantity of waste type k to be collected and sent from each farm type i to the collection center in period type m (kg).

Y jkm = Quantity of waste type k to be sent from the collection center for final disposal alternative type j in period type m (kg)

CAPCA m = Storage capacity of the storage center in the period type m (kg)

Objective function and constraints

Subject to:

Eq. (1) indicates the objective function of the problem that minimizes the total cost of the process of collection and final disposal of pesticide containers and packaging, which contains both the cost of transportation and the cost of the operators involved in the process, as well as the distances from each of the farms to the collection center and the distance between the collection center and each of the places where the different alternatives for final disposal are carried out.

Restriction (2) calculates the capacity of the collection center in each collection period, which depends on the quantities collected and taken to the final disposal. Eq. (3) ensures that the total quantities collected in a period do not exceed the available capacity of the collection center, to guarantee that no pesticide containers and packaging are left lying around or out of control. In addition to this, Eq. (4) guarantees that the quantities collected in each farm and each period are those identified as generated and ensures that there are no uncollected residues in the farms.

Eq. (5) guarantees that the total amount of pesticide residues collected at the farms and taken to the collection center in each period is the same amount of residues that will be transported to each of the disposal alternatives in the same period, guaranteeing that no pesticide residues are in storage or unprocessed at the collection center. Constraint (6) takes into account the capacity of each of the disposal alternatives in order not to send more waste than they can receive for processing. Eqs. (7) and (8) take into account the capacity of vehicles to collect waste on the farm and to take it to each disposal alternative, respectively. Eqs. (9-11) are non-negativity restrictions that guarantee that the quantities to be collected, transported to final disposal, and stored in the collection center are positive.

4.2. Discrete event simulation model

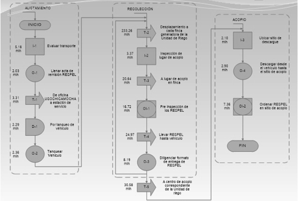
Initially, for the simulation model, a description of the activities that make up the process of collection and final disposal of empty pesticide containers and packaging was carried out, in addition to a time study. Fig. 3 shows the diagram of the reverse logistics process currently being carried out in the area under study, as well as the standard times for each of the activities, in which it can be seen that the longest time is spent on transportation to each of the farms, since the distances between farms are long and the geographic and road conditions are not optimal.

LI process of empty pesticide containers and packaging

Figure 3: LI process of empty pesticide containers and packaging

Source: Authors

Table 1: Probability distributions stochastic activities

Variable Probability distribution K-S Anderson Darling % adjustment
ST CV ST CV
Displacement to each generating farm Exponential 0,05 0,13 0,49 2,49 79,2
Transportation to the collection point on the farm Reverse Weibull 0,06 0,13 0,6 2,49 100
Waste pre-inspection Reverse Weibull 0,06 0,19 0,25 2,49 99
Transport of waste to the vehicle Reverse Gaussian 0,05 0,13 0,36 2,49 100

Source: Authors. ST=Statistical, CT=Critical Value

The discrete event simulation model was implemented taking into account the randomness of each of the identified variables. Table 1 shows the adjustment of probability distributions to each of the variables, which were verified through goodness-of-fit tests, the results of which are also shown.

Once the simulation model was obtained, it was validated through a test t for two samples assuming equal variances. The validation variable chosen was the total time of the process of collecting empty pesticide containers and packaging. A confidence level of 95% and an admissible error of 5% was established for the FlexSim model, and with this criterion, 10 initial runs were carried out to determine the minimum number of runs necessary, which was 15:

Table 2: Test t for validation

Flexsim Real
Mean 369,99 364,8
Variance 310,27 1268,59
Observations 15 3
Hypothetical difference of means 0
Degrees of freedom 2
Statistical t 0,246
P(T<=t) a queue 0,414
Critical value t (a queue) 2,919
P(T<=t) two queue 0,828
Critical value t (two queue) 4,302

Source: Authors

Table 3: Test t for validation

Current Scene 1 Scene 2
Operator Operator 1 Operator 2 Operator 1 Operator 2
Wait 80,79% 77% 79,57% 82,85% 77,59%
Transportation to the collection point on the farm 6,42% 6,02% 5,58% 6,27% 5,37%
Transportation to the vehicle 7,03% 2,72% 1,08% 2,77% 2,72%
Sort 1,54% 1,18% 1,18% 2,03% 1,89%
Pre-inspection 4,23% 12,64% 12,64% 6,08% 12,43%
Vehicle Vehicle Vehicle 1 Vehicle 2
Farm to farm transportation 73,70% 81,50% 74,72% 85,92%
Waste recolection 19,50% 8,02% 18,47% 3,35%
Idle 6,80% 10,42% 6,73% 10,61%
Overall process time (min) 368,64 314,54 199,78
Decrease of time (min) 0 54,1 168,86
Percentage improvement 0% 15% 46%

Source: Authors

Where n is the total number of replicates to be carried out, s is the standard deviation of the pre-sample, t is the theoretical value of the student t distribution with n-1 degrees of freedom, and a probability α and e refers to the admissible error. Table 2 shows the results of the test t developed for the validation, where it can be observed that the critical zone of this test is between -4.3 and +4.33, and as the statistic t is within this interval, it is concluded that there is no significant difference between the total time of the collection process of the two systems, not rejecting the null hypothesis of equality of means, so it is established that as there is no difference, the model developed in FlexSim is validated concerning the real system.

Finally, experimentation is carried out with the discrete event simulation model, proposing two scenarios for improving the system. The first scenario is characterized by the addition of an operator to support the pre-inspection and collection activities of the waste generated in each farm. The second scenario is characterized by the addition of a collection vehicle that, together with the second operator added in scenario 1, will take an alternate route to cover 6 of the 11 farms that generate waste in the irrigation unit. Table 3 shows the results for the data output analysis of the different scenarios.

The most representative improvement can be observed in the decrease of the processing time in each scenario, being number 2 the most favorable with 168.86 min, concerning the current system model, this scenario represents an improvement in the process of 46%. The proposed model produces the best and most viable conditions adaptable to the real system that generates the greatest reduction in the total time of the process of collection and collection of pesticide residues.

5. Discussion

The MILP mathematical model developed yields the minimum quantities of empty pesticide containers and packaging to be collected in each of the farms for each collection period, where it is evident that for all periods in each farm, the model generates the same result only differentiating by type of waste, achieving in total the collection of a greater quantity of containers than packaging, with a total of 1,292.3 kg of containers and 1,106.6 kg of packaging. Likewise, the results show the quantities to be taken to each of the final disposal alternatives, where only the eco-processing option is chosen for packaging and recycling containers in the same quantities for all periods.

The proposed model increases by 36% the number of empty pesticide containers and packaging to be collected, compared to the average amount currently being collected on all farms in the district (1760 kg of waste). Finally, this model proposes several improvement scenarios where it is evident that the capacity of the collection center, collection vehicle capacity, and disposal vehicle capacity, currently at 12,000, 3,000, and 8,000 kilograms respectively, could be reduced to 2,399 kilograms or more since the quantities being generated on the farms in the district are lower than this proposal, to reduce costs and have greater control over the quantities being stored.

In comparison with the results obtained through the discrete event simulation model, it is evident that the model represents in a better way the real operation of the inverse logistics process, however obtaining results with totally different approaches to the MILP model since the simulation model does not determine the quantities to be collected, but on the contrary, it does represent the stochastic variables and includes the variability of the process, which the deterministic model does not. On the other hand, it is evident that the scenarios proposed in the simulation model are focused on the implementation of resources to reduce the total time of the process, which does not guarantee that a greater amount of pesticide residues will be collected, but the MILP model does, whose objective and improvement proposals are focused on increasing the quantities to be collected.

6. Conclusions

The results obtained show that the two models developed present both advantages and disadvantages and do not fully represent the real operation of the reverse logistics process of empty pesticide containers and packaging since, despite being very powerful quantitative tools, they focus on particular objectives, ignoring some of the characteristics of the real model.

Likewise, it can be observed that the process under study needs both a deterministic and a stochastic representation to achieve accurate results and to be able to propose significant and efficient improvements to the process. Initially, it is considered important to include variables referring to quantities to be collected and taken to final disposal, as well as the evaluation through binary variables of the opening of new collection centers, which is achieved through deterministic models, but it is also necessary to include the variability or randomness of variables in order to represent the process to a greater extent and for the results obtained to have greater reliability, which is achieved through stochastic models.

Finally, it can be inferred that a possible option to represent the reverse logistics process of empty pesticide containers and packaging is to develop a model that includes two phases, on the one hand, the deterministic one to achieve optimal results combined with a model that includes stochastic variables.

References

  1. [1] Blewett, D.K., The dictionary of modern war, RQ, 31(2), pp. 256-258, 1991. 🠔
  2. [2] Guide, J.V. and Van Wassenhove, L.N., The reverse supply chain, Harvard Business Review, 80(2), pp. 25-26, 2002. 🠔
  3. [3] Rogers, D.S. and Tibben‐Lembke, R., An examination of reverse logistics practices, Journal of Business Logistics, 22(2), pp. 129-148, 2001. 🠔
  4. [4] Shuang, Y., Diabat, A., and Liao, Y., A stochastic reverse logistics production routing model with emissions control policy selection, International Journal of Production Economics, 213, pp. 201-216, 2019, DOI: https://doi.org/10.1016/j.ijpe.2019.03.006. [URL] 🠔
  5. [5] Govindan, K., and Bouzon, M., From a literature review to a multi-perspective framework for reverse logistics barriers and drivers, Journal of Cleaner Production, 187, pp. 318-337, 2018, DOI: https://doi.org/10.1016/j.jclepro.2018.03.040. [URL] 🠔
  6. [6] Wilson, M., and Goffnett, S., Reverse logistics: understanding end-of-life product management, Business Horizons, 65(5), pp. 643-655, 2022, DOI: https://doi.org/10.1016/j.bushor.2021.10.005. [URL] 🠔
  7. [7] Eren, E., and Rıfat-Tuzkaya, U., Safe distance-based vehicle routing problem: medical waste collection case study in COVID-19 pandemic, Computers & Industrial Engineering, 157, art. 107328, 2021, DOI: https://doi.org/10.1016/j.cie.2021.107328. [URL] 🠔
  8. [8] Govindan, K., Nasr, A.K., Mostafazadeh, P., and Mina, H., Medical waste management during coronavirus disease 2019 (COVID-19) outbreak: A mathematical programming model, Computers & Industrial Engineering, 162, art. 107668, 2021, DOI: https://doi.org/10.1016/j.cie.2021.107668. [URL] 🠔
  9. [9] Wang, J., Cevik, M., Amin, S.H., and Parsaee, A.A., Mixed-integer linear programming models for the paint waste management problem, Transportation Research Part E: Logistics and Transportation Review, 151, art. 102343, 2021, DOI: https://doi.org/10.1016/j.tre.2021.102343. [URL] 🠔
  10. [10] Yu, H., Sun, X., Solvang, W.D., Laporte, G., and Lee, C.K.M., A stochastic network design problem for hazardous waste management, Journal of Cleaner Production, 277, art. 123566, 2020, DOI: https://doi.org/10.1016/j.jclepro.2020.123566. [URL] 🠔
  11. [11] Xiao, Z., Sun, J., Shu, W., and Wang, T., Location-allocation problem of reverse logistics for end-of-life vehicles based on the measurement of carbon emissions, Computers & Industrial Engineering, 127, pp. 169-181, 2019, DOI: https://doi.org/10.1016/j.cie.2018.12.012. [URL] 🠔
  12. [12] Govindan, K., and Gholizadeh, H., Robust network design for sustainable-resilient reverse logistics network using big data: a case study of end-of-life vehicles, Transportation Research Part E: Logistics and Transportation Review, 149, art. 102279, 2021, DOI: https://doi.org/10.1016/j.tre.2021.102279. [URL] 🠔
  13. [13] Buczyńska, A., and Szadkowska-Stańczyk, I., Identification of health hazards to rural population living near pesticide dump sites in Poland, International Journal of Occupational Medicine and Environmental Health, 18(4), pp. 331-339, 2005. 🠔
  14. [14] Elfvendahl, S., Mihale, M., Kishimba, M.A., and Kylin, H., Pesticide pollution remains severe after cleanup of a stockpile of obsolete pesticides at Vikuge, Tanzania, Ambio, 33(8), pp. 503-508, 2004. DOI: https://doi.org/10.1579/0044-7447-33.8.503. [URL] 🠔
  15. [15] Sivanesan, S.D., Krishnamurthi, K., Wachasunder, S.D., and Chakrabarti, T., Genotoxicity of pesticide waste contaminated soil and its leachate, Biomedical and Environmental Sciences, 17(3), pp. 257-265, 2004. 🠔
  16. [16] Bondori, A., Bagheri, A., Allahyari, M.S., and Damalas, C.A., Pesticide waste disposal among farmers of Moghan region of Iran: current trends and determinants of behavior, Environmental Monitoring and Assessment, 191, pp. 1-9, 2019. 🠔
  17. [17] Morello, L., Oliveira, S., Oliveira, K., Silva, B., Siegloch, A.E., and Agostinetto, L., Disposal of pesticide wastes in apple orchards in the south of Brazil and its compliance with current legislation, Journal of Agricultural Science, 11(10), pp. 140-153, 2019. 🠔
  18. [18] Sharafi, K. et al., Knowledge, attitude and practices of farmers about pesticide use, risks, and wastes; a cross-sectional study (Kermanshah, Iran), Science of The Total Environment, 645, pp. 509-517, 2018, DOI: https://doi.org/10.1016/j.scitotenv.2018.07.132. [URL] 🠔
  19. [19] Wang, J.-J. Chen, H., Rogers, D.S. Ellram, L.M., and Grawe, S.J., A bibliometric analysis of reverse logistics research (1992-2015) and opportunities for future research, International Journal of Physical Distribution & Logistics Management, 2017. 🠔
  20. [20] Comper, I.C., Chaves, G.d.L.D., and Matavel, N.I., Análise Bibliométrica da Logística Reversa, Revista Ifes Ciência, 2(1), pp. 72-97, 2016. 🠔
  21. [21] Banguera, L.A. Sepúlveda, J., Ternero, M.R., Vargas, M., and Vásquez, Ó.C., Reverse logistics network design under extended producer responsibility: the case of out-of-use tires in the Gran Santiago city of Chile, International Journal of Production Economics, 205, pp. 193-200, 2018, DOI: https://doi.org/10.1016/j.ijpe.2018.09.006. [URL] 🠔
  22. [22] Trochu, J., Chaabane, A., and Ouhimmou, M., Reverse logistics network redesign under uncertainty for wood waste in the CRD industry, Resources, Conservation and Recycling, 128, pp. 32-47, 2018, DOI: https://doi.org/10.1016/j.resconrec.2017.09.011. [URL] 🠔
  23. [23] Kuşakcı, A.O., Ayvaz, B., Cin, E., and Aydın, N., Optimization of reverse logistics network of End of Life Vehicles under fuzzy supply: a case study for Istanbul Metropolitan Area, Journal of Cleaner Production, 215, pp. 1036-1051, 2019, DOI: https://doi.org/10.1016/j.jclepro.2019.01.090. [URL] 🠔
  24. [24] Aydin, N., Designing reverse logistics network of end-of-life-buildings as preparedness to disasters under uncertainty, Journal of Cleaner Production, 256, art. 120341, 2020, DOI: https://doi.org/10.1016/j.jclepro.2020.120341. [URL] 🠔
  25. [25] Yang, C., and Chen, J., Robust design for a multi-echelon regional construction and demolition waste reverse logistics network based on decision Maker’s conservative attitude, Journal of Cleaner Production, 273, art. 122909, 2020, DOI: https://doi.org/10.1016/j.jclepro.2020.122909. [URL] 🠔
  26. [26] Lu, S., Zhu, L., Wang, Y., Xie, L., and Su, H., Integrated forward and reverse logistics network design for a hybrid assembly-recycling system under uncertain return and waste flows: a fuzzy multi-objective programming, Journal of Cleaner Production, 243, art. 118591, 2020/01/10/ 2020, DOI: https://doi.org/10.1016/j.jclepro.2019.118591. [URL] 🠔
  27. [27] Safdar, N., Khalid, R., Ahmed, W., and Imran, M., Reverse logistics network design of e-waste management under the triple bottom line approach, Journal of Cleaner Production, 272, art. 122662, 2020, DOI: https://doi.org/10.1016/j.jclepro.2020.122662. [URL] 🠔
  28. [28] Dutta, P., Mishra, A., Khandelwal, S., and Katthawala, I., A multiobjective optimization model for sustainable reverse logistics in Indian E-commerce market, Journal of Cleaner Production, 249, art. 119348, 2020, DOI: https://doi.org/10.1016/j.jclepro.2019.119348. [URL] 🠔
  29. [29] Yükseltürk, A., Wewer, A., Bilge, P., and Dietrich, F., Recollection center location for end-of-life electric vehicle batteries using fleet size forecast: scenario analysis for Germany, Procedia CIRP, 96, pp. 260-265, 2021, DOI: https://doi.org/10.1016/j.procir.2021.01.084. [URL] 🠔
  30. [30] Gholizadeh, H., Goh, M., Fazlollahtabar, H., and Mamashli, Z., Modelling uncertainty in sustainable-green integrated reverse logistics network using metaheuristics optimization, Computers & Industrial Engineering, 163, art. 107828, 2022, DOI: https://doi.org/10.1016/j.cie.2021.107828. [URL] 🠔
  31. [31] Jauhar, S.K., Amin, S.H., and Zolfagharinia, H., A proposed method for third-party reverse logistics partner selection and order allocation in the cellphone industry, Computers & Industrial Engineering, 162, art. 107719, 2021, DOI: https://doi.org/10.1016/j.cie.2021.107719. [URL] 🠔
  32. [32] Hashemi, S.E., A fuzzy multi-objective optimization model for a sustainable reverse logistics network design of municipal waste-collecting considering the reduction of emissions, Journal of Cleaner Production, 318, art. 128577, 2021. DOI: https://doi.org/10.1016/j.jclepro.2021.128577. [URL] 🠔
  33. [33] Hu, W., Dong, J., and Xu, N., Multi-period planning of integrated underground logistics system network for automated construction-demolition-municipal waste collection and parcel delivery: a case study, Journal of Cleaner Production, 330, art. 129760, 2022. DOI: https://doi.org/10.1016/j.jclepro.2021.129760. [URL] 🠔
  34. [34] Yin, R.K., Case study research: design and methods. Sage, 2009. 🠔
  35. [35] Taha, H.A., and Taha, H.A., Operations research: an introduction. Prentice hall Upper Saddle River, NJ, 2003. 🠔
  36. [36] Law, A.M., Kelton, W.D., and Kelton, W.D., Simulation modeling and analysis. Mcgraw-Hill, New York, USA, 2007. 🠔
  37. [37] Niebel, B.W., and Freivalds, A., Ingeniería Industrial de Niebel: métodos, estándares y diseño del trabajo. McGraw Hill, 2014. 🠔
  38. [38] Esfandiari, R.A. y Dunna, M.G., Simulación y analísis de modelos estocásticos/por Mohammad Reza Azarang Esfandiari y Eduardo García Dunna (no. 519.5 R3.). 1996. 🠔
Silva-Rodríguez, J.D. and Ocampo-Velez, P.C., Comparison of mathematical models in reverse logistics: case of pesticide containers and packaging. DYNA, 90(228), pp. 47-54, Special Project Management, September, 2023.
Received the BSc. Eng. in Industrial Engineer in 2013, from the University of Boyacá, Colombia. MSc. in Industrial Engineering in 2016, from the Pedagogical and Technological University of Colombia and is currently a PhD student in Process Engineering at the EAN University, Colombia. From 2013 to 2014 he worked as a young researcher for COLCIENCIAS. Since 2014 he has worked as a research professor at several universities. He is currently a research professor at the Faculty of Industrial Engineering, Universidad Santo Tomás de Colombia. His research interests include: simulation, modeling, logistics and production. ORCID: 0000-0001-7497-8632
Is professor at the Faculty of Engineering Universidad EAN, Bogotá, Colombia, Certify by European Logistics Association, ELA. Dr. in Process Engineering. MSc. Global Supply Chain Management, from the EPFL de Lausanne, Switzerland. He is currently teacher of the Engineering Facultad, Universidad EAN de Colombia. ORCID: 0000-0003-3455-8101